Home / Computers/technology / Gadgets / Apple Designed A New Kind Of Blood Pressure Monitor

APPLE DESIGNED A NEW KIND OF BLOOD PRESSURE MONITOR

A few years ago, some of Apple's employees dreamed up a device that could take the company beyond the world of healthcare apps, and into healthcare products.

It could be rolled out into future Apple Watch devices down the line, but that's beside the point, Apple applied for a patent for said device in a listing that became public earlier this week, and it looks underwhelming.

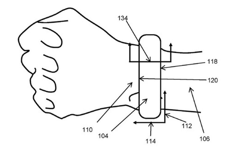
The design Apple had patented for a wearable blood pressure monitor – a cuff equipped with a sensor (or several) that will track the user's blood pressure when it might be spiking too high or swimming too low. To put a tech-spin on the device, Apple mentioned that the device might sport a touchscreen, and might be Bluetooth compatible.

The reason for those qualifiers is because the current patent is extremely broad. The first claim says that it’ll be:

A blood pressure measurement system, comprising: a pressure sensor; an expandable member comprising a plurality of expandable cells, wherein the plurality of expandable cells comprises at least three expandable cells or at least two repeating expandable cells; and an expansion actuator configured to selectively expand the expandable member.

The Apple patent claims to have either one sensor (or several) to measure the blood pressure as it flows through the user's arm or leg. There is also an "actuator" to measure how much pressure is needed to get a good reading without crushing the user's arm entirely.


LATEST
The Latest Trend Might Be Foldable Smartwatches
Apple Might Launch A Video Subscription Service Like Netflix
This Robotic Device Reimagines Walking Disabilities
You Can Turn Your Apple Watch Into An Original iPod
Apple Cuts Production Orders On The Three New iPhones
A Device That Can Help Blind People Read Without Braille
Scientists Have Discovered A 'Super Earth'
Another Apple Event For 30 October – Here's What To Expect
Apple Features South Africans Do Not Have